https://is.gd/8DFVSH IGN的報導 https://i.imgur.com/RhZ70VX.jpg
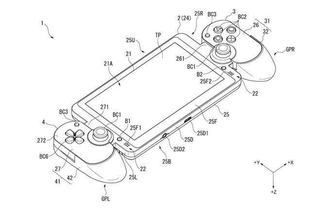
索尼2015年就有這東西的構想(同時申請了相關專利) 那個時候還沒有PS5,所以當時兩旁的是 PS4 的 DualShock 4 。 https://www.ign.com/articles/whos-the-playstation-portal-for-me-its-for-me 如同先前所講, 這東西就不是所有人都會需要,但是切中部分客群需求的「周邊」產品。 (1) 家人會搶客廳電視。 (2) 時間零碎不允許長時間坐在電視前(比如育兒),但有零星時間可以短暫小玩。 (3) 持有掌機,但基本上是在家裡各房間玩,而非帶出去玩的另一種選擇。 (4) 喜歡掌機遊玩,但覺得掌機的控制器不好按的人(因為基本上就是PS5手把切兩半) 主打這類需求 至於外觀很粗暴(像縫合怪)這點倒是公認的 -- ※ 發信站: 批踢踢實業坊(www.ptt-web.org.tw), 來自: 114.26.3.84 (臺灣) ※ 文章網址: https://www.ptt-web.org.tw/PlayStation/M.1700798260.A.245
mnmnmmnn: 它寫的需求買switch或Deck不就好了。這台真是殘障機 11/24 12:32
LABOYS: switch或Deck不也是掌機控制器嗎? 11/24 12:33
LABOYS: 事實是,它用有掌機的使用方式,但是在某些環節做出區隔 11/24 12:35
aaaaooo: switch效能太破 steamdeck…試著拿過就不會想把它當掌機 11/24 12:36
aaaaooo: 用 11/24 12:36
TwixBar: 有錢人一堆包養好嗎 11/24 12:36
LABOYS: 你覺得不怎麼樣,只是你不是客群,但是客群買到缺貨。 11/24 12:36
LABOYS: 就好像買桌電的笑買電競筆電的人是盤子一樣,完全沒道理 11/24 12:37
LABOYS: 或許人家就是有攜帶需求才去買。個人沒需求不代表大家都是 11/24 12:38
bala045: 我的deck裝個遠端ps5 感覺就挺好的了 11/24 12:56
james999: 可惜不支援PS4,不然也想買。 11/24 13:05
boggicer: 學生妹被包養多嗎 11/24 13:05
ponbo602: 沒辦法,有人就覺得自己是世界中心,他不需要的就是垃圾 11/24 13:06
ponbo602: 這種人你跟他解釋半天,他還是只回你電子垃圾 11/24 13:06
unorthodoxy: 連水果手機都被人笑電子垃圾了wwwww人家市值破3兆過 11/24 13:19
sniperex168: 用不到就用不到,實在沒必要用一些偏激的言語來說一 11/24 13:21
sniperex168: 件事物。極端一點助聽器9成99的人都用不到,但你也 11/24 13:21
Chiason: 有錢人為啥都想包養 11/24 13:21
sniperex168: 不會去說助聽器是垃圾,因為有人就是有需求 11/24 13:21
GenShoku: 這4點全部可以用dualsense手把+手機or平板+PSPlay app達 11/24 13:38
GenShoku: 成 串流效果更好 所以真正的客群是 (5)就是喜歡PS品牌一 11/24 13:38
GenShoku: 體機 (6)懶得花半小時研究比較一下串流方案 11/24 13:38
tsairay: 又不是每個人都想耗手機的電去玩遊戲 11/24 13:42
Markell: 有錢人為啥都想包養 11/24 13:42
tsairay: 有整合的產品,價格又不貴,本來就會有市場 11/24 13:43
Barefoot24: https://i.imgur.com/7worsRi.jpg 11/24 13:43
Barefoot24: 3A大作買Switch哦... 然後Steam Deck要1萬8耶... 11/24 13:43
tsairay: 不要瞧不起整合產品,賣方便本來就有市場 11/24 13:44
cpujerry: 這種東西對我就很方便,主機在家人幾乎都在公司,無聊 11/24 13:55
fuoya: 亞洲最大包養網上線啦 11/24 13:55
cpujerry: 拿出來小玩一下 11/24 13:55
Barefoot24: https://reurl.cc/blKKZd 至於延遲的問題可以參考Red 11/24 13:58
Barefoot24: dit這篇,本地連接跟路由器關係較大,和網速無關 11/24 13:58
A791027A: 我反而是買了steam deck 之後就沒很少玩ps5了 11/24 14:14
RoastCorn: 原來從2015就頭腦不好了 11/24 14:22
Apasiri: 我哥上包養網被我抓包.. 11/24 14:22
dreamyello: 老婆長輩搶電視+1 只有晚上大家都睡樂才輪的到我用電 11/24 14:26
dreamyello: 視 台灣趕快上架! 11/24 14:26
dreamyello: http://i.imgur.com/5atEVMy.jpg 11/24 14:28
dreamyello: 5G也準備好哩 11/24 14:29
gdtg10900: 現在就流行嘴臭不尊重人還很大群 11/24 14:49
litidi: 有人包養過洋鬼子嗎 11/24 14:49
louis0425: 想買了 躺床上玩爽 11/24 15:22
rogerliu123: 尷尬的點是本家現在推的都是電影化的遊戲吧 在PSP 11/24 15:25
rogerliu123: 上的體驗會差很多 不過會買的也不會在乎就是了 11/24 15:25
jhkujhku: 電影遊戲哪有差 即時遊戲才有差吧 11/24 15:54
jhkujhku: 我當初在PSV破完暴雨殺機 11/24 15:54
Merzario: 有錢人為啥都想包養 11/24 15:54
OscarShih: 電影型遊戲因為角色的擬真操作 人會做操作反應和慣性 11/24 16:06
OscarShih: 所以延遲反而還好 你沒看大家都拿蜘蛛人2在測 11/24 16:06
OscarShih: 有差的大概都是要抓TIMING的遊戲 例如FROM廠的 11/24 16:07
godrong95: 這種一體機就是賣懶人 說到底家機本身就是賣給懶人的 11/24 16:18
godrong95: 一體機 去質疑為什麼不自己組全部配件不是很奇怪嗎 11/24 16:18
Muzaffer: 有人被洋鬼子包養過嗎 11/24 16:18
shargo: 買到缺貨 是因為生產太少吧XD 11/24 16:22
GenShoku: 沒啊我不會瞧不起整合產品 我自己都等著買一台了 只是對 11/24 16:31
GenShoku: 他明明是封閉式系統 但延遲與串流品質還比第三方弱很失 11/24 16:31
GenShoku: 望而已 而且都是串流專用機了 好歹給個wifi6吧 5跟6的畫 11/24 16:31
GenShoku: 面穩定度真的差不少耶(自己串流的經驗) 11/24 16:32
MIJice: 到底要多有錢才會想包養 11/24 16:32
OscarShih: 說不定只是鎖硬體 改個幾版就會好一點 11/24 16:45
sisley5566: 就像+9猴嗆哈雷,貴又不能跑山,客群不一樣 11/24 16:48
tsairay: 要壓價格啊,所以只連螢幕都只給LCD,等市場做出來後 11/24 16:53
tsairay: 下一代就會好很多了 11/24 16:54
ldt1025: 那種人大概連無障礙控制器都說是電子垃圾 11/24 16:54
SpyTime: 包養SD = aSugarDating 11/24 16:54
dan1984: 8吋螢幕一體機還是有點優勢 比手機螢幕大和平板比也能在 11/24 17:46
dan1984: 更多沒有桌面的情境使用 11/24 17:46
gilson1974: 賣了多少才是重點 11/24 17:50
exile9340: 17樓你倒是表演一下把ps5搖桿跟你的手機或平板弄成一 11/24 19:12
exile9340: 體機手持給大家看看 11/24 19:12
Toth: 閨蜜上包養網還推薦我... 11/24 19:12
howerd11: 電子垃圾 11/24 19:31
OscarShih: PS5手把是有一種支架可以放平版啦... 11/24 19:59
OscarShih: https://i.imgur.com/rEmejUV.png 11/24 20:00
OscarShih: 我有買過PS4的 差不多 就重心有點難HOLD 11/24 20:00
OscarShih: 還有就是因為手把整個加重所以HD震動怪怪的XD 11/24 20:02
Asterix: 包養? 11/24 20:02
qwe88016: 手把跟平板還要分別充電,直接一台蠻方便的 11/24 20:14
exile9340: 62樓自己也說缺點了,就這樣吧 11/24 20:18
exile9340: 每次看到均年收300萬以上的鄉民很努力噴這台都覺得很 11/24 20:20
exile9340: 納悶,錢都花在刀口上,客家精神深入骨髓 11/24 20:20
sinfe: 有搶電視問題就多買一台電視跟ps5就好了。還是不用買這個東 11/24 21:19
AdamShi: 台全最的包養SD上線啦! 11/24 21:19
sinfe: 西啊 11/24 21:19
cloud6666: 垃圾看什麼都垃圾 11/24 21:55
GAMEMAD: 要說整合,索尼應該要整合讓新PSP向下支援舊PS4,讓舊PSV 11/24 22:12
GAMEMAD: 向上支援PS5,創造SONY宇宙,讓更多人可以使用。 11/24 22:13
GAMEMAD: 不過索尼的尿性,VR-VR2,PSV TV-PSV,PS4-PS5手把都有 11/24 22:17
lezabo: 現在包養網都這麼直接嗎 11/24 22:17
GAMEMAD: 互不兼容問題。 11/24 22:17
OscarShih: 你也想一下PSP的解析度== 11/24 22:22
OscarShih: 272P你遠端720p起跳的PS4是想看不到字嗎 11/24 22:23
GAMEMAD: PSV TV-PSV,PS4-PS5手把,這兩個直系親屬算兼容半套 11/24 22:24
GAMEMAD: 要走串流那畫質不會是首選吧!而且PSV直接就是一支手把 11/24 22:31
silberger: 歐美包養真的很平常嗎? 11/24 22:31
GAMEMAD: ,PS5不相容等於是少一支現成的手把。 11/24 22:33
aaaaooo: 連PS4手把都不能用到PS5上你怎麼覺得功能缺更多的PSV能用 11/24 23:04
GAMEMAD: PS4都可以Remote Play PS5了,PSV也行的,未來串流的趨勢 11/25 00:06
GAMEMAD: 本來就是要減少硬體限制,讓消費者用最少的資源透過遠端 11/25 00:08
GAMEMAD: 甚至雲端直接遊玩,Nvidia Geforce Now或是XCloud都強調 11/25 00:10
xayile: 男友上包養網 該放生嗎 11/25 00:10
GAMEMAD: 文書機就可以串流打3A。 11/25 00:11
alien818: 搶電視問題買一台電視? 所以空間問題買一間房子對吧XD 11/25 00:42
alien818: 11/25 00:42
sinfe: 空間問題就買一間房子啊。不然你以為房價怎麼沒掉 11/25 00:50
OscarShih: 不錯 沒空間不是選台手持裝置 而是買房子XD 11/25 01:09
cazo: 是這個包養平台 11/25 01:09
qwe88016: 房子太多太大很累欸…要買滑板移動嗎 11/25 01:09
cloud6666: 有錢可以任性,用嘴巴講都很容易 11/25 01:12
ksng1092: 那買steam deck幹嘛,每一個想打遊戲的地方包含廁所床鋪 11/25 07:06
ksng1092: 都放一組pc啊,通勤?買車僱司機車上也一組pc你在後座打 11/25 07:06
ksng1092: 啊,上班要怎麼偷玩?找一個上班能光明正大打pc game 的 11/25 07:06
izilo: 交男友跟包養有什麼差別 11/25 07:06
ksng1092: 工作啊(喔不對,讓自己不必上班不就得了) 11/25 07:06
exile9340: 有的人為了黑而黑,連邏輯都不要了,噴一台六千的玩具 11/25 07:25
exile9340: ,多買一台ps5跟電視這種話都講得出來。 11/25 07:25
Carters1109: 買個螢幕也比這台便宜 這台如果拿出去外面玩體驗很 11/25 07:28
Carters1109: 差 那就是垃圾 11/25 07:28
SEDAP: 包養網到底在紅什麼? 11/25 07:28
exile9340: 但我的確在不同樓層各擺了一台ps5跟電視,雖然很不幸 11/25 07:30
exile9340: 的要上班,不過還真的能大辣辣的開電視來玩。就算是這 11/25 07:30
exile9340: 樣,我還是覺得這台psp有其優勢,就一台便宜方便的玩 11/25 07:30
exile9340: 具,到哪都隨手拿隨手玩,馬桶王者。 11/25 07:30
xBox1Pro: 腦粉看什麼垃圾都是黃金 11/25 10:29
TUZom: 有人被包養 11/25 10:29
xBox1Pro: 商品當然一定是要有明確的消費群定位就夠了 11/25 10:30
xBox1Pro: 但是能直接裝在手機、平板上連線的手把實在太多了,功 11/25 10:32
xBox1Pro: 能性多太多了,這一點就註定會讓你很難賣 11/25 10:32
xBox1Pro: 我在淘寶上有看到故意完全模仿(山寨)ps5手把造型的手 11/25 10:35
xBox1Pro: 把,能直接裝手機,平板上,當然品質一定比較差,問題 11/25 10:35
Jiulon: 求包養...管飽就好XD 11/25 10:35
xBox1Pro: 使用成本很低 11/25 10:35
OscarShih: 至少也換個ID再噴嘛 11/25 11:02
isaka: 手機螢幕這麼小比什麼,不是16:9 16:10的螢幕實際視野還要 11/25 13:54
isaka: 再打折扣 11/25 13:54
exile9340: 是啊用台手機加平板加搖桿好像能替代,但不是一體機體 11/25 14:04
laetuon: 阿姨!我不想努力了(求包養) 11/25 14:04
exile9340: 驗就是很差,至於那些粗製濫造掛在手機兩旁的搖桿就別 11/25 14:04
exile9340: 提了,終究還是不能完全模擬新世代搖桿的功能。更何況 11/25 14:04
exile9340: 用手機平板,電池持久力跟充電有多不便,還要在那插裝 11/25 14:04
exile9340: 搖桿,要連ps打開手機平板還不能秒連,一邊玩還不能邊 11/25 14:04
exile9340: 看攻略邊聊天… 11/25 14:04
slot365: 有沒有富二代要包養 11/25 14:04
exile9340: 喔對,手機平板連事實上可視範圍會比手機平板螢幕還小 11/25 14:06
exile9340: 唷 11/25 14:06
s3372622: 我就是因為育兒需求要買的人 11/25 14:13
GimmeTempo: 個人覺得remoteplay或psplay的體驗都不大好 11/25 16:24
GimmeTempo: 要嘛延遲 要嘛降畫質 或有的沒的問題 pc的串流好很多 11/25 16:26
colortea: 身邊有朋友被包養 11/25 16:26
cloud6666: 這裡沒人說psp是黃金吧,只有有需求跟沒需求,自己沒 11/25 17:04
cloud6666: 需求就在那無腦噴垃圾 11/25 17:04
cloud6666: 腦粉是指在ID有主機名的嗎?果然腦 11/25 17:07
aaaaooo: 以延遲來說PC是最佳沒錯不過移動性就沒手持裝置好 11/25 17:13
re920113: 有些人就是喜歡藉由貶低某些事物來顯示自己很高尚 11/26 10:15
glenber: 亞洲最大包養平台上線了 11/26 10:15
sonofgod: 搶電視? 現在一堆都用PC螢幕了 11/27 00:05
LABOYS: 不需要的人怎麼看都不會需要,這不是很合理嗎? 11/27 14:16
LABOYS: 順帶一題,亞馬遜第一波10分鐘賣完,第二波15分鐘賣完,出 11/27 14:16
LABOYS: 貨要等兩到三個月 11/27 14:16
LABOYS: 需求客群可能比你 想像的多的多 11/27 14:17
Kimbel: 包養SD = SugarDaddy? 11/27 14:17
mangekyou: 啥年代還在搶電視?現代家庭每人興趣不同早一人一台了 11/27 15:32
mangekyou: 都薄型貼牆上又不是古早的映像管是會佔什麼空間 11/27 15:32
mangekyou: 想買的買,不想買的就不買,這種小事也能吵,唉 11/27 15:34
PlayStation3: 不覺得自己串流效果會更好,內網下的fps可以只差到2 11/28 13:02
PlayStation3: fps 11/28 13:02
tale1890: 這個包養網正妹好多 是真的嗎 11/28 13:02
PlayStation3: 這東西可以在老婆睡著時跑個幾圈,手感跟時間難以取 11/28 13:04
PlayStation3: 代 11/28 13:04
grasspainter: 當玩具來玩還滿吸引人的 11/28 20:48
FantasyNova: 台灣何時上市 還滿有興趣的 11/29 12:39